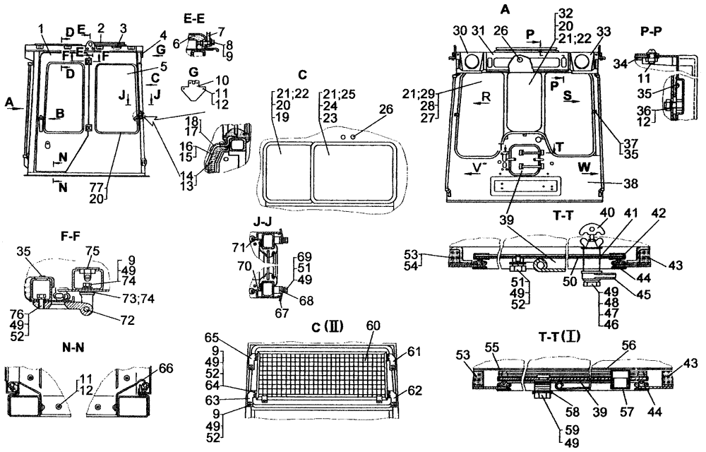
| # | Номер запчасти | Наименование детали | Кол-во в сборке |
| 1 | 64-59-267СП
64-59-267-02СП 8 | Дверь (правая) | 1 |
| 64-59-267-01СП | Дверь (левая) | 1 | |
| 2 | 50-59-814СП | Установка люка | 1 |
| 3 | 700-42-2801 | Обечайка | 1 |
| 4 | 50-59-1465-01 | Накладка | 1 |
| 5 | 50-59-1661 1, 3
50-59-1661-01СП 2 | Стекло | 2 |
| 6 | 700-40-9322 | Панель | 2 |
| 7 | 50-59-1157 | Петля | 2 |
| 8 | 40912 | Кольцо | 4 |
| 9 | - | Болт М10-6gх30.58.Ц9.ч | 36 |
| 10 | 50-25-158 | Планка | 1 |
| 11 | - | Винт В.М6-6gх16.58.Ц9.ч | 22 |
| 12 | - | Шайба 6Т 65Г Ц9.ч | 26 |
| 13 | 700-40-8835 | Панель | 1 |
| 14 | 700-40-8825 | Панель | 1 |
| 15 | 700-42-2797-01 | Панель | 1 |
| 16 | 700-42-2797 | Панель | 1 |
| 17 | 700-42-2482 | Накладка | 1 |
| 18 | 50-59-1468 | Накладка | 1 |
| 19 | 50-59-1591 1 | Стекло | 1 |
| 50-59-1591-01 2
64-59-233СП 3 | Стеклопакет СПО 5/3-12-5/3 642x470 | ||
| 20 | 24-59-228-07 | Кант | 4 |
| 21 | - | Уплотнитель Пр-015; | 19 м |
| 22 | 700-40-9486 4 | Уплотнитель | 2 |
| 23 | 50-59-1592 1
50-59-1592-01 2 | Стекло | 1 |
| 64-59-234СП 3 | Стеклопакет СПО 5/3-12-5/3 922x642 | ||
| 24 | 24-59-228-09 | Кант | 3 |
| 25 | 700-40-9486-02 4 | Уплотнитель | 1 |
| 26 | 700-40-9305 | Пробка | 4 |
| 27 | 50-59-1589 1 | Стекло | 2 |
| 50-59-1589-01 2
64-59-236СП 3 | Стеклопакет СПО 5/3-12-5/3 952x474 | ||
| 28 | 24-59-228-08 | Кант | 2 |
| 29 | 700-40-9486-01 4 | Уплотнитель | 4 |
| 30 | 700-42-2816-01 | Накладка | 1 |
| 31 | 50-59-81ЗСП | Панель | 1 |
|
32 | 50-59-1590 1
50-59-1590-01 2 | Стекло | 1 |
| 64-59-232СП 3 | СтеклопакетСПО 5/3-12-5/3 672x432 | ||
| 33 | 700-42-2816 | Накладка | 1 |
| 34 | 50-59-821СП | Пластина | 1 |
| 35 | 700-35-2191 | Винт | 90; 111 4 |
| 36 | - | Гайка М6-7Н.6.Ц9.Ч | 6 |
| 37 | 50-59-1078 | Прижим | 8; 29 4 |
| 38 | 50-59-775СП 7, 8
50-59-775-02СП 4, 8 | Каркас | 1 |
| 39 | 50-59-548СП
50-59-546СП | Крышка | 1 |
| 40 | 50-59-547СП 5 | Ручка | 2 |
| 41 | 700-42-2693 | Панель | 1 |
| 42 | 50-59-1285 | Окантовка | 1 |
| 43 | 700-40-8823
700-40-8823-08 700-40-8823-12 8 700-40-8823-14 8 | Панель | 1
1 |
| 44 | 700-40-8842-02 | Уплотнение | 1 |
| 45 | 24-59-205 5 | Прижим | 2 |
| 46 | 50-59-969 5 | Прокладка | 2 |
| 47 | - | Гайка М10.6.019 5 | 2 |
| 48 | 31308-1 5 | Шайба | 2 |
| 49 | - | Шайба 10 ОТ 65Г Ц9.ч | 18; 20 7 |
| 50 | 700-40-9387
700-40-8840 | Панель | 1 |
| 51 | - | Болт М10-6gx18.58.Ц9.ч | 2 |
| 52 | 31308-02 | Шайба | 34 |
| 53 | 700-40-8824
700-40-8824-08 | Панель | 1 |
| 54 | 700-42-2627 | Панель | 1 |
| 55 | 700-42-2892 6 | Панель | 1 |
| 56 | 50-59-548-01СП 6 | Крышка | 1 |
| 57 | 700-40-9449 | Пробка | 2 |
| 58 | 64-59-247 | Планка | 1 |
| 59 | - | Болт М10-6gx35.58.Ц9.ч | 6 |
| 60 | 48-59-176-01СП 9
48-59-215СП 9 | Защита | 1 |
| 61 | 50-59-1617-03 9 | Кронштейн | 1 |
| 62 | 50-59-1617-01 9 | Кронштейн | 1 |
| 63 | 50-59-1617 9 | Кронштейн | 1 |
| 64 | - | Гайка М10-7Н6.Ц9.ч 9 | 8 |
| 65 | 50-59-1617-02 9 | Кронштейн | 1 |
| 66 | 64-59-272 | Порожек | 2 |
| 67 | 50-59-440СП
64-59-211СП 7 | Защелка | 2 |
| 68 | 64-59-288 | Проставка | 2 |
| 69 | - | Болт M10-6gx35.58.19 | 4; 6 7 |
| 70 | 700-42-2796 | Панель | 1 |
| 71 | 700-42-2796-01 | Панель | 1 |
| 72 | 50-59-817-01СП | Шарнир | 2 |
| 73 | 50-59-1489 | Пластина | 8 |
| 74 | 3197-03 | Шайба | 10 |
| 75 | 700-42-2659 | Заглушка | 4 |
| 76 | - | Болт М6-6gx25.58.Ц9.ч | 8 |
| 77 | 700-40-7716-06 | Уплотнитель | 2 |
| I - Для трактора с электростартерной системой пуска.
II - Для кабины с защитой. | |||
| 1 Для заказа комплект стекол 50-59-840СП.
2 Для заказа комплект стекол 50-59-841СП. 3 Для заказа комплект стеклопакетов 64-59-242СП. 4 Для установки стеклопакетов. 5 Для трактора с пусковым двигателем. 6 Для трактора с электростартерной системой пуска. 7 Для трактора c ROPS-FORS. 8 Для кабины с дополнительным масляным отопителем. 9 Кабина с защитой заднего стекла. | |||
| # | Номер запчасти | Наименование детали | Кол-во в сборке |
| 1 | 700-40-8842 | Уплотнитель | 2 |
| 2 | 700-40-8828 | Панель | 1 |
| 3 | 700-40-8830 | Панель | 1 |
| 4 | 50-59-480СП | Планка | 2 |
| 5 | - | Винт В.М6-6gх16.58.Ц9.ч | 22 |
| 6 | 31358-02 | Шайба | 26 |
| 7 | - | Болт М6-6gх16.88.35.019 | 8 |
| 8 | - | Шайба 6Т 65Г 09 | 26 |
| 9 | 700-40-9323 | Панель | 1 |
| 10 | 700-42-2603 | Кожух | 1 |
| 11 | 50-59-415СП | Опора | 1 |
| 12 | 50-59-650СП | Зеркало | 1 |
| 13 | 700-42-2798 | Панель | 1 |
| 14 | 700-40-9370-01 | Панель | 2 |
| 15 | 700-40-8831 | Панель | 1 |
| 16 | 700-40-8832 | Панель | 1 |
| 17 | 700-42-2800 | Кожух | 1 |
| 18 | 700-40-8826 | Панель | 1 |
| 19 | 700-40-8836 | Панель | 1 |
| 20 | 700-40-8827 | Панель | 1 |
| 21 | 700-40-8837 | Панель | 1 |
| 22 | 700-40-9305 | Пробка | 4 |
| 23 | 700-42-2470 | Крючок | 1 |
| 24 | 50-59-491СП | Кронштейн | 1 |
| 25 | 700-42-2799 | Панель | 1 |
| 26 | 50-59-1496 | Скоба | 2 |
| 27 | 50-59-733СП | Молоток | 1 |
| 28 | 50-5В-497СП | Кронштейн | 1 |
| 29 | 700-42-2660 | Пробка | 5 |
| 30 | 700-35-2191 | Винт | 90 |
| 31 | - | Винт В.М8-6gх35.58Ц9.ч | 2 |
| 32 | - | Гайка М8-7Н.6.Ц9.ч | 2 |
| 33 | - | Шайба 8Т 65Г Ц9.ч | 4 |
| 34 | 31386-03 | Шайба | 2 |
| 35 | 700-40-8838 | Панель | 1 |
| 36 | 700-42-2982 | Панель | 1 |
| 37 | Е39410П25 | Винт | 4 |
| 38 | 64-59-274 | Фиксатор | 2 |
| 39 | 700-42-2627 1
700-42-2892 2 | Панель | 1 |
| 40 | 700-42-2982-01 | Панель | 1 |
| 1 Для трактора с пусковым двигателем.
2 Для трактора с электростартерной системой пуска. | |||
