Запасные части ЧТЗ Запасные части ЧТЗ
Ош
Например:
Актобе
Алдан
или
Выбрать автоматически
Актобе
Алдан
Алматы
Алчевск
Архангельск
Астана
Астрахань
Атырау
Баку
Балашиха
Барнаул
Белгород
Бердянск
Бишкек
Владивосток
Владикавказ
Воркута
Воронеж
Горловка
Грозный
Донецк
Екатеринбург
Иваново
Ижевск
Иркутск
Казань
Калининград
Каменск-Уральский
Караганда
Каховка
Кемерово
Киров
Комсомольск-на-Амуре
Костанай
Краснодар
Красноярск
Красный луч
Ленск
Луганск
Магадан
Магнитогорск
Макеевка
Махачкала
Мелитополь
Минск
Мирный (Якутия)
Москва
Мурманск
Нерюнгри
Нижневартовск
Нижний Новгород
Нижний Тагил
Новая каховка
Новокузнецк
Новосибирск
Новый Уренгой
Норильск
Ноябрьск
Нур-Султан
Омск
Оренбург
Ош
Павлодар
Пермь
Петрозаводск
Петропавловск
Петропавловск-Камчатский
Псков
Ростов-на-Дону
Салехард
Самара
Санкт-Петербург
Саратов
Севастополь
Семей
Симферополь
Сочи
Ставрополь
Сургут
Сыктывкар
Тараз
Ташкент
Токмак
Томск
Тында
Тюмень
Ульяновск
Усинск
Усть-Каменогорск
Уфа
Хабаровск
Ханты-Мансийск
Херсон
Челябинск
Чита
Шымкент
Экибастуз
Энергодар
Южно-Сахалинск
Якутск
Ваш город
Ош
Войти
Запасные части к тракторам на одном сайте
+7 (932) 303-00-10
+7 (932) 303-00-10
г. Ош, ул. Артыкова, д. 42
Пн-Пт: 9:30-18:30 Cб-Вс: Выходной
Отправить заявку


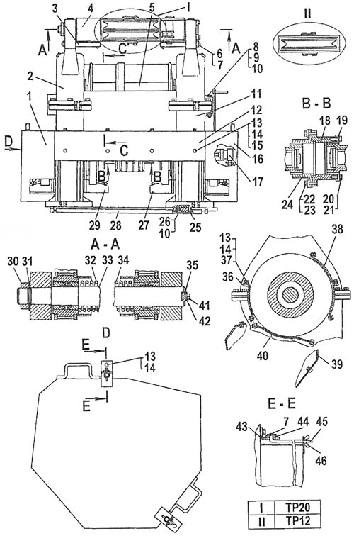
Лебедка 71-44-1СП, 71-44-1-01СП на ТР20 и ТР12


/
с НДС 20%
Описание
Лебедка 71-44-1СП, 71-44-1-01СП
Поз.ОбозначениеНаименованиеКол-во
171-44-118СПКожух1
271-44-102СПРедуктор1
371-44-86Упор2
471-44-104СП; 71-44-104-01СППодвеска1
571-44-103СПБарабан1
6Гайка 302102
74x40Шплинт 6
8700-28-2581Болт1
9М16х1,5-6Н.6.019Гайка1
1016 0Т 65Г 09Шайба9
1171-44-101СПРедуктор1
1271-44-117Кожух1
13М10x18.58.019Болт 26
1410 ОТ 65Г 09Шайба 26
153197Шайба8
1671-44-119СПКожух1
17Гидросистема управления лебедкой
1871-44-141Муфта1
1971-44-142Планка2
20700-31-2579Шайба6
21М8-6gх16.88.35.019Болт 6
22700-31-944-03Шайба отгибная6
23M12-6gx25.88.38xc.019Болт 6
2471-44-140Муфта2
253262Штифт цилиндрический4
26700-28-2623Болт8
2771-44-101 СПСистема управления редуктором 1
2871-44-145СППлита1
2971-44-102СПСистема управления редуктором 1
30700-30-177Гайка1
31700-31-2718Шайба1
32700-38-2903-01Пружина1
3371-44-71Ось1
34700-38-2903Пружина1
3571-44-87Планка1
3671-44-118Упор7
3731308-1Шайба14
3871-44-114Кожух3
3971-44-116Кожух1
4071-44-115Кожух1
41М12х30.58.019Болт 2
42700-31-2717Пластина1
4371-44-119Уголок4
4431386-1Шайба4
4571-44-120Стяжка4
4605573-1-01Гайка4
Лебедка 71-44-1СП, 71-44-1-01СП